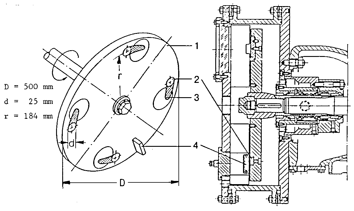
1 - rotating disk, 2 - cavitation generating holes, 3 - cavitating wakes, 4 - stationary specimens

Photographs of test samples are available here !