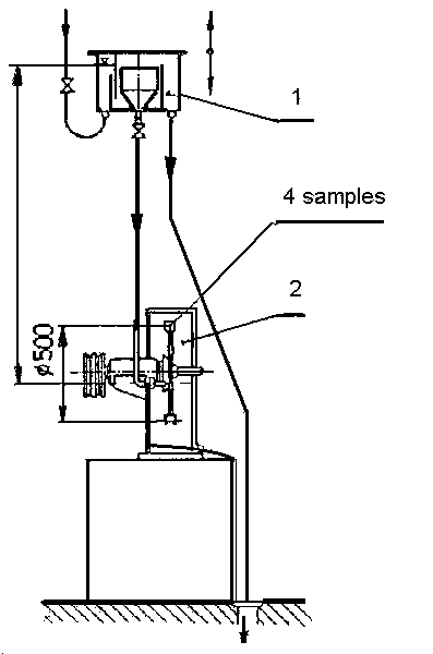
1 - tank with controlled water level, 2 - test chamber

Photographs of test samples are to be found here !